Regulations (Standards - 29 CFR)
Double Connections: Illustration of a Clipped End Connection and a Staggered Connection: Non-Mandatory Guidelines for Complying with 1926.756(c)(1). - 1926 Subpart R App H

Regulations (Standards - 29 CFR) - Table of Contents Regulations (Standards - 29 CFR) - Table of Contents
• Part Number: 1926
• Part Title: Safety and Health Regulations for Construction
• Subpart: R
• Subpart Title: Steel Erection
• Standard Number: 1926 Subpart R App H
• Title: Double Connections: Illustration of a Clipped End Connection and a Staggered Connection: Non-Mandatory Guidelines for Complying with 1926.756(c)(1).

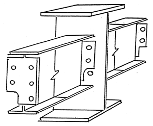
Appendix H to Subpart R -- Double Connections: Illustration of a Clipped End Connection and a Staggered Connection: Non-Mandatory Guidelines for Complying with §1926.756(c)(1).


Clipped End Connection



Clipped end connections are connection material on the end of a structural member which has a notch at the bottom and/or top to allow the bolt(s) of the first member placed on the opposite side of the central member to remain in place. The notch(es) fits around the nut or bolt head of the opposing member to allow the second member to be bolted up without removing the bolt(s) holding the first member.

Staggered Connection



Staggered connections are connection material on a structural member in which all of the bolt holes in the common member web are not shared by the two incoming members in the final connection. The extra hole in the column web allows the erector to maintain at least a one bolt connection at all times while making the double connection.

[66 FR 5279, Jan. 18, 2001]


Next Standard (1926 Subpart S) Next Standard (1926 Subpart S)

Regulations (Standards - 29 CFR) - Table of Contents Regulations (Standards - 29 CFR) - Table of Contents



Back to Top Back to Top www.osha.gov www.dol.gov

Freedom of Information Act |These pages are mirrored from the Occupational Safety and Health Administration General Construction Standards pages as reference links for their content in the live reporting of safety violations on active building sites by BuilderWerks users.
Courtesy of IntoText Corporation 813-968-2972 |8708 N Lynn Ave | Tampa FL 33604 |
Occupational Safety & Health Administration
200 Constitution Avenue, NW
Washington, DC 20210